型号:817/600
品牌:LYC
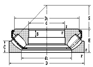
系列:推力滚子轴承
备注:
型号:81108
型号:872/1320
型号:89311
型号:292/1620
型号:292/530
型号:292/630
型号:90392/630
型号:292/600
型号:90392/600
型号:29238
型号:9039248E
型号:29248E
型号:29256
型号:29264
型号:29276E
18817916889 扫一扫 加微信
在线客服